Burrs after mechanical treatment are boring, not afraid! Here is often the scheme that metal cutting processes are often accompanied by the generation of terrifying. The existence of burrs not only reduces the treatment accuracy and the quality of the room, affects product performance and sometimes even causes accidents. For the burrs problem, people generally use brothers to solve. The abolition of burr is a non -productive process.
This article first analyzes the main factors that affect the formation of terrifying final strawberries and start from structural design to the entire process of manufacturing manufacturing, and discuss the methods and technologies of reduction and control of executioners of Frack.
1. The main shape of the burrs during the end of the end treatment
Depending on the cutting movement – the cutting blade of the classification system of cutting blade leftovers, the land produced during the final milling process include the jackets on both sides of the main blade, the cutting direction of the direction of Cut on the side, the cutting cut of the cutting direction, and the cut and cut in the bottom, there are five forms of burrs (see Figure 1).
Figure 1 Burrs formed by the treatment of milling
In general, the cutting direction of the cutting direction is the characteristics of large size and the elimination of difficulties compared to other burrows. To this end, this article uses the lower edge of the cutting management of the cutting management as the main research object to carry out research. Depending on the sizes and forms of the cutting direction of the cutting direction according to the final mill, it can be divided into three types: type I (large size, elimination of difficulties, high elimination cost), II Burr ( The size is compared to the size that the size is compared small, it cannot be removed or deleted) and the type III blister is negative (as shown in Figure 2).

Figure 2 Cut the cutting steering from the cutting steering when the bottom of the grinding
Second, the main factor affecting the formation of terrifying
Burrs formation is a very complicated material deformation process. The characteristics of room materials, geometric shapes, surface treatment, tool geometry, tool cutting trajectory, tool wear, cutting parameters and coolant all affect directly Burrs training. Figure 3 shows the factors of final blunder. In specific grinding conditions, the shape and size of the final strawberry stuffing depends on the complete effect of various influence factors, but different factors have different effects on the formation of terrifying.

Figure 3 Misons terrifying to form the graphic control graph
1. Enter / exit
In normal circumstances, the burrows generated by the knife tips are larger than the terrifying generated when the tool is turned in the room.
2. Cuting out the plane
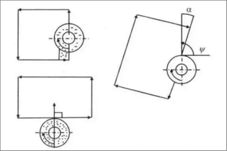
The aircraft angle of the plane has a great impact on the training management training of the Cup management. The definition of the flat cutting angle is when the cutting blade turns the terminal surface of the room, in the plane of a small vertical strawberry axis on the cutting blade, the cutting speed of this point (the Head speed direction and speed vector synthesis of the power supply speed) and the speed of the power speed)) the angle between the terminal faces of the part. The direction of the terminal surface of the part is to point out the point of the knife to the point of the knife. As shown in Figure 5, the 面 is cut off from the plane and its beach is 0 ° <ψ ≤180 °.
The results of the tests show that the height of the terrifying changes with the change in the depth of the cut, that is to say the increase in terrifying the depth of the depth of cutting the transition of the blunder II to the type II. The minimum milling depth of the Burr II is generally called the limit cutting depth, which is represented by DCR. Figure 6 shows the impact of the cutting angle of the plane and the cutting depth on the height of the burrs when processing an aluminum alloy.

Figure 6 Cut the corner and cutting depth of the shape of the burrows and the plane
It can be seen from Figure 6: the larger the graphic angle, the larger the cutting depth of the border, when the plane cut the angle is greater than 120 °, the size of type I A A larger size and the limit and limit cut the depth of the type II type limit. Therefore, the small plan cuts the angle of the blunder II.
The size and direction of the power speed will have a certain impact on the size and direction of the V synthesis speed, which will affect the angle and the terrifying plane. Consequently, the larger the speed of the power supply and the output edge, the smaller the ψ ψ, the more the formation of the formation of the greatest terrifying (as shown in Figure 7).

fig
3. The order to exit the Pointe du Couteau Eos
During the ending processing process, the size of the terrifying depends to a large extent on the order of the knife. As shown in Figure 8: point A is the point on the side cutting blade, the point C is the point on the main cutting blade and point B is the tip of the knife. Suppose that the tip of the knife is sharp, that is to say not to consider the radius of the tip of the tip of the knife. If British Columbia leaves the room first, then leaves the room on the side of the AB, the chip hop is on the surface of the treatment. Cut the cutting direction of the cutting steering. If AB leaves the room first, British Columbia leaves the room, the crumbs are cut on the transition surface and the room is cut to form a smaller lower edge to cut the cutting direction of the cutting steam .
The test shows:
① Leave the sequence of the Pointe du Couteau to leave the ABC / Bac / ACB / BCA / CAB / CBA sequence.
② The result of the EOS is the same, but in the same exit order, plastic materials are larger as the terrifying products by crisp materials. The order to exit the tip of the knife is not only linked to the geometric shape of the tool, but also linked to factors such as the supply volume, the milling depth, the geometric size of the part and the Cutting conditions. Assign the training of burrs.

Figure 8 The formation of the tip of the knife and the formation of the burrows
4. The impact of other factors
① The formation of milling parameters, the milling temperature and the cutting environment will also have a certain impact on the formation of terrifying. The exit of the Pointe du Couteau de la Pointe du Couteau is reflected.
② better the material of the part is plastic, the more likely it is to form I type I. During the process of processing the end of fragile materials, if the quantity of intake or plan is important, it will be conducive to type III formation (deficiency);
③ When the angle between the terminal surface of the part and the treated plane is higher than the right angle, it can inhibit the formation of terrifying due to the improvement of terminal facial branches;
④ The use of the milling fluid is conducive to the extension of the lifespan of the tool, reduces the wear of the tool and the lubrication and milling process, thus reducing the size of the land;
⑤ The wear of the knife has a great impact on the formation of burrs. But the cutting management of the tool will be generated.
⑥ Other factors, such as tool materials, have a certain impact on the training of burrs. Under the same cutting conditions, diamond knives are more conducive to the abolition of the formation of terrifying than other tools.
3. The basic way to control the formation of milling noises
The formation of terrifying finals is affected by various factors. To reduce final blunder, it is necessary to control and reduce the production of terrifying many aspects.
1. Reasonable structural design
The formation of Burrs is largely affected by the structure of the part, the structure of the part is different and the shape and size of the terrifying on the edge of the edge of the edge is also very different. If the material and surface treatment of the parts are placed in advance, the geometric shape and the edge of the part are an important factor in determining the formation of terrifying.
2. Appropriate treatment sequence
The treatment order also has a certain impact on the shape and size of the terrifying milling. The shape and size of the terrifying are different, and the workload and the related costs of eliminating terrifying are also different.

Figure 9 Select the sequential treatment control method
If you first pierced the hole, then the molding, the hole is subject to cut the grinding burrs on the weekly circle; In the same way, in fig.
3. Avoid output the tool
Avoiding the output of the tool is an effective way to avoid the formation of terrifying, because the release of the tool is the main factor in the brake formation formation in the direction. In normal circumstances, the terrifying strawberries are larger, and the terrifying generated when they enter the room are smaller. Therefore, during the processing process, try to avoid spinning strawberries. As shown in Figure 4, the terrifying born in Figure 4B are lower than the land produced in Figure 4A.
4. Select the appropriate walking route
According to the previous analysis, we can see that when the plane cuts the angle lower than a certain value, the size of the terrifying is smaller. The plane cutting angle can be modified by modifying the crushing width, power speed (size and direction) and rotation speed (size and direction). Therefore, you can avoid the production of type I burrs by selecting the right knife track (see Figure 11).

Figure 10 Check the knife route method
Figure 10a is a traditional police line. Figure 10b adopts an improved knife lane, which can avoid the production of terrifying. Although the walking route in Figure 11b is slightly longer than the walking route in Figure 10a, and the spending time is slightly a lot, because the terrifying are not necessary, and the use of the figure 10a requires a lot of damage time (although the shaded part in Figure 10a (although the part of the shadow of Figure 10a (although the part of the shadow of the figure, the part of the shadow of Figure 10a requires it, there are not many parts of the blunder, but all the edges of the burrs when the terrifying are in fact removed).
5. Select the appropriate milling parameters
The ending strawberries (such as the quantity of each tooth, the width of the final grinding, the final milling depth and the geometric angle of the tool) have a certain effect on the formation of burrs.
The formation of terrifying finals is affected by various factors. The final form and the size of the burrs are the result of the complete effect of various factors.
This article begins from the entire process of the design of the structure, the provision of processing processes, processing of processing, the quantity of milling and the selection of tools, analyzes the main factors of influence Strikes and proposes to control the strawberry control method, select the appropriate treatment order method and improve the improvement in structural design. shorten the production cycle in the treatment of grinding.
Daguang focuses on providing solutions such as precision CNC machining services (3-axis, 4-axis, 5-axis machining), CNC milling, 3D printing and rapid prototyping services.


















