Habka ugu Fiican ee Qaybaha Silsiladda Aluminium-ka ee Khafiifka ah ee Saxnaanta Sare leh
Nov 08,2022
Habka hawlgalku wuxuu si gaar ah ula xiriiraa habka xakamaynta tirooyinka ee qaybaha dhululubada aluminiumka, gaar ahaan habka farsamaynta ee qaybaha dhululubada aluminiumka khafiifka ah ee saxda ah.

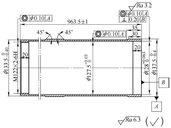
Jaantuska 1-11 Qaybaha dhululubada aluminiumka ah ee khafiifka ah
Sida caadada ah Adeegyada makiinada CNC, Nidaamka tignoolajiyada CNC ee qaybaha dhululubada aluminiumka: Waqtigan xaadirka ah, qalabka mashiinka CNC ee caadiga ah ayaa guud ahaan loo isticmaalaa habaynta qaybaha dhululubada aluminiumka ee khafiifka ah ee saxda ah, qalabka guud ee loogu talagalay iyo qalabka gaarka ah ayaa loo isticmaalaa isku-xidhka radial-ka. Iyada oo la raacayo ficilka isku-dhafka ah ee xoogga iyo kulaylka jarista, aad bay u fududahay in la beddelo, mana buuxin karto shuruudaha cabbirka iyo saxnaanta qaabka qaybaha.
Habkani wuxuu bixiyaa hab wax lagu farsameeyo qaybaha dhululubada aluminiumka, kaas oo xalliya dhibaatada isbeddelka inta lagu jiro habaynta qaybaha dhululubada aluminiumka ee khafiifka ah ee saxda ah.
Faaruqinta ama sameynta qaybaha tuubooyinka aluminiumka ah ee bannaan
Qaybaha tuubada aluminiumka ah waxaa lagu farsameeyaa walxo tuubo ah. Haddii qaab-dhismeedka qaybaha uusan ku habboonayn in lagu farsameeyo walxaha tuubooyinka, si looga fogaado qashinka walxaha, meelaha banaan ee la tuuro waxaa loo isticmaali karaa qaybaha aan u baahnayn inay u adkaystaan culeys badan oo aan lahayn shuruudo gaar ah oo ku saabsan sifooyinka farsamada oo dhammaystiran; haddii qaybuhu u baahan yihiin inay u adkaystaan culeys sare oo gaar ah, waxaa jira shuruudo u dhigma sifooyinka farsamada oo dhammaystiran, iyadoo la raacayo qiimaha badbaadinta, sameynta qalabka dhiman ayaa loo tixgelin karaa inay tahay mid bannaan, laakiin shuruudaha farsamada ee wax soo saarka madhan ee u dhigma waa in la soo gudbiyaa iyadoo loo eegayo shuruudaha naqshadeynta badeecada.
Dhexroorka dibadda ee qaybaha tuubada aluminiumka ee qallafsan iyo dhererka buuxa ee shaqada
Marka hore, geli tuubada aluminiumka ee heerka caadiga ah ee qaybaha tuubada aluminiumka qalabka balaadhinta dhererka buuxa, isticmaal dusha sare ee hore iyo kan dambe, oo dhexroorka dibadda iyo dhererka buuxa ee qalabka shaqada ee ku yaal mashiinka. Maro toosan ayaa loo isticmaalaa mishiinka qallafsan. Maadaama maaddada ceeriinku ay tahay qalab tuubo khafiif ah, qalab balaadhin dherer buuxa ah ayaa loo isticmaali karaa in lagu rido qalabka shaqada, sida ku cad Jaantuska 1-12. Taayirka balaadhinta waxa uu ka samaysan yahay bir guga oo xoog badan oo 65Mn ah, adkaanta ka dib daaweynta kulaylkana waxay gaari kartaa 50~55HRC.
Waxaa jira dalool 0.2 ~ 0.3mm ah oo ku jira godka gudaha ee qaybta dhululubada. Daab loo doortay in lagu xoqo waa daab la tilmaami karo TCMT160404-PR, qaansada sanka ee qalabkana waa R0.4mm. Lacagta loogu talagalay mashiinka qallafsan waa 3 ~ 4mm jihada dhexroorka iyo 3 ~ 4mm wejiga ugu dambeeya. Xuduudaha jarista waa: xawaaraha jarista vc = 180 ~ 250m/daqiiqo, xaddiga quudinta f = 0.2 ~ 0.3mm/r, gadaal jarista ap = 1.5 ~ 2mm.

Jaantuska 1-12 Jaantuska jaantuska ee dhexroorka dibadda iyo qalabka taaylada ballaarinta dhererka buuxa ee qaybaha silinda aluminiumka ee qallafsan
Godadka gudaha ee qaybaha dhululubada aluminiumka ah oo qallafsan oo rogrogaya
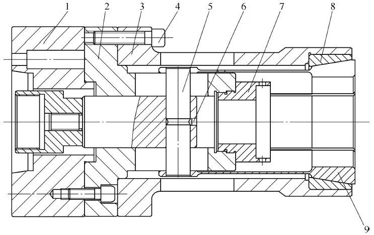
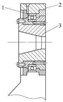
Qalabka qalabka ee qalabka gudaha ee qaybaha foosto aluminiumka qallafsan iyo kuwa khafiifka ah ku rid qalabka gudaha ee godka qaybaha foosto aluminiumka qallafsan iyo kuwa khafiifka ah, oo isticmaal qalabka gudaha ee qaybaha foosto aluminiumka qallafsan iyo kuwa khafiifka ah ee ku yaal makiinada si aad u qabsato foosto aluminiumka qallafsan. Habka godka gudaha ee qaybta, godka gudaha ee qaybta silinda aluminiumka waa la qalloociyay. Qalabka gudaha ee loogu talagalay qaybaha silinda aluminiumka qallafsan iyo kuwa khafiifka ah waxaa ka mid ah flange 1, booska gacanta 2, jirka isku dhejinta 3, boolal 4, jiid biinka 5, xudunta simbiriirixan 6, booska baloogga 7, gacanta gacanta 8 iyo kabaha isku dhejinta 9, saxanka flange 1.
Gacanta booska 2 iyo jirka isku xidhka 3 si isdaba joog ah ayaa loo hagaajiyay oo loo wada xidhay, xudunta simbiriirixan 6 waxay ku taal godka dhexe ee gacanka booska 2, dhammaadka hore ee gacanka booska 2 waxaa si dun ah loogu xidhay baloogga booska 7, godka gudaha ee dhammaadka hore ee jirka isku xidhka 3 waxaa lagu hagaajiyay gacan go'an 8, Kabaha isku xidhka 9 waxaa lagu hagaajiyay gacanka koonka, dhammaadkiisa dambena si adag ayuu ugu xidhan yahay xudunta simbiriirixan 6 iyada oo loo marayo biinka jiidista 5. Biinka jiidista ayaa dib iyo dib ugu dhaqaaqi kara godka xadka ee gacanka booska, dusha sare ee koonka dibadda ee kabaha isku xidhka 9na waxaa lagu xidhayaa gacanka koonka 8. si uu ula mid noqdo koonka gudaha (fiiri Jaantuska 1-13).

Jaantuska 1-13 Jaantuska jaantuska ee qalabka godka gudaha ee loogu talagalay in lagu xiro qaybaha dhululubada aluminiumka qallafsan iyo kuwa khafiifka ah
1—Flange 2—Gacanta Helitaanka 3—Jidhka Isku Xidha 4—Boorno 5—Jiid Biinanka 6—Ubucda Sibidhka 7—Goobta Baloogga 8—Gacanta Isku Xidha 9—Kabaha Isku Xidha
Habka godka gudaha ee qaybaha tuubada aluminiumka ee qallafsan ayaa qaata makiinada toosan. Maadaama qalabka shaqadu yahay qalab tuubo khafiif ah, isku-xidhka caadiga ah wuxuu sababi doonaa isbeddel ku yimaada qalabka shaqada, cabbirku waa mid aan dulqaad lahayn, isku-xidhkana lama dammaanad qaadi karo, sidaa darteed tuubo aluminium ah oo qallafsan ayaa la isticmaalaa. Qalabka godka gudaha ee qaybta, sida ku cad Jaantuska 1-14, ayaa loo isticmaalaa qalabka mashiinka si loogu xiro qalabka godka gudaha ee qaybaha tuubada aluminiumka qallafsan iyo kuwa khafiifka ah, qalabka godka gudaha ee qaybaha tuubada aluminiumka qallafsanna waxaa loo farsameeyaa si gaar ah.
Qabsashada godka gudaha ee qaybaha tuubada aluminiumka ee rogrogmada qallafsan waxaa laga sameeyay bir tayo sare leh oo kaarboon ah T8A, adkaanta ka dib marka la damiyo waxay gaari kartaa 55HRC. Dhumucda derbiga ee qabsashada godka gudaha ee qaybaha tuubada aluminiumka waxay gaartaa 18mm, taas oo hubin karta shuruudaheeda xoogga. Qalabka godka gudaha ee qaybaha tuubada aluminiumka ee rogrogmada qallafsan waxaa si isdaba joog ah loogu farsameeyaa rogrogmada qallafsan, deminta, dhammaystirka rogrogmada, shiididda iyo habab kale. Waxay hubin kartaa saxnaanta ka dib xidhitaanka iyo kala-goynta soo noqnoqda, waxayna buuxin kartaa shuruudaha wax soo saarka iyo farsamaynta. Qaab-dhismeedka hirgelinta gaarka ah waxaa lagu muujiyay Jaantuska 1-15.

Jaantuska 1-14 Jaantuska shaxda ee qaab-dhismeedka godka gudaha ee qaybaha tuubada aluminiumka ee qallafsan
1—Sildigo qallafsan oo wareegsan daboolka bidixda 2—Qalabka gudaha ee daloolka qalloocan 3—Daboolka dhammaadka midig ee dhululubo qallafsan 4—Shaqada

Jaantuska 1-15 Jaantuska jaantuska ee qaab-dhismeedka hirgelinta gaarka ah ee leexashada qallafsan iyo tan wanaagsan ee godka gudaha ee qaybaha silinda aluminiumka
1—Flange 2—Gacan-qabsiga Meelaynta 3—Jidhka isku xidhka 4—Boorno 5—Jid biinka 6—Ubucda simbiriirixan 7—Goobta baloogga 8—Gacan-qabsiga 9—Daboolka dhammaadka bidix 10—Jidhka isku xidhka 11—Daboolka dhammaadka midig 12—Shaqada 13—Watt isku xidhka
Kabaha isku xidha waxay leeyihiin qaab-dhismeed dusha sare ee koonka ah oo dibadda ah, kaas oo la mid ah dusha sare ee koonka ee gacanta koonka, waxaana lagu rakibayaa qalab ka hortagaya in biinka jiidista uu soo baxo jirka isku xidha. Dhammaadka hore ee kabaha isku xidha si siman ayaa loogu qaybiyaa meelo badan oo ku wareegsan wareegga, taas oo ku habboon in qaabka laastikada ah ee kabaha isku xidha uu ku xidho shaqada. Silinda saliidda ee qalabka mashiinka ayaa ku riixaysa xudunta simbiriirixanaysa inay ku simbiriirixanto gacanta booska, dhululubada saliidda ee is jiidjiidkana waxay ku riixaysaa xudunta si ay u jiiddo biinka jiidista iyadoo dusha sare ee kabaha isku xidha ay si wadajir ah ula simbiriirixanto dusha sare ee gacanta isku xidha ee jirka qalabka, shaqadana si radial ah ayaa loogu xidhaa.
Qalabka shaqada waxaa la gelinayaa qabsashada godka gudaha ee qaybta silinda aluminiumka ee qallafsan, ka dib marka labada darafba si dhidibada ah loogu cadaadiyo daboolka dhammaadka, dhammaantiis waxaa la gelinayaa godka gudaha ee qabsashada godka gudaha ee qaybta silinda aluminiumka qallafsan oo qallafsan oo la xirayo. Lacagta farsamaynta ee habkan waa 2 ~ 3mm jihada dhexroorka, wejiga ugu dambeeya ee godka gudahana waa 1 ~ 2mm. Xuduudaha jarista waa: xawaaraha jarista vc = 180 ~ 250m/daqiiqo, xaddiga quudinta f = 0.2 ~ 0.3mm/r, qaddarka jarista dambe ap = 1.5 ~ 2mm.
Daaweynta xasilloonida
Daaweynta xasilinta guud ahaan waa wareegga qabow iyo kulaylka ama gabowga qabow iyo shoogga kulaylka. Habka iyo xuduudaha daaweynta xasilloonida guud ahaan waa sidan soo socota: marka hore qabow, heerkulku waa -100°C, oo hayso 2 saacadood; hawo qaboojiye oo ku soo celi heerkulka qolka, ka dibna hayso wax ka badan 3 saacadood, ka dibna kulaylka gabowga, heerkulku waa 185~195°C, ilaalinta kulaylkuna waa 2~3 saacadood; Ka dib marka foornada la qaboojiyo ilaa 80°C, waxaa lagu qaboojin karaa hawada. Waqtiyada wareegga, boosaska habka iyo xuduudaha habaynta ee daaweynta xasilloonida waa in lagu go'aamiyaa iyadoo loo eegayo qaab-dhismeedka iyo shuruudaha farsamo ee qaybaha.
Habka dhammaystirka qaabka
Iyada oo la adeegsanayo qalabka bacaha hawada ee laastikada ah si loo saxo qaybaha tuubada aluminiumka (fiiri Jaantuska 1-16), qalabka shaqada waxaa lagu rakibay miiska meelaynta ee jirka isku xidha iyo dusha sare ee giraanta meelaynta si loo ogaado booska qalabka shaqada. Marka bacda hawada la buufiyo 4 ee ku yaal jirka isku xidha, qalabka shaqada waa la adkeeyaa, ka dibna qaabka qaybta silinda aluminiumka ayaa la dhammeeyaa.

Jaantuska 1-16 Jaantuska shaxda ee qaab-dhismeedka qalabka barkinta hawada ee laastikada ah ee qaybaha tuubada aluminiumka ee saxda ah
1—Flange 2—Boorno 3—Jidhka isku dheggan 4—Barkinta hawada 5—Shaqada 6—Waalka badbaadada 7—Waalka si degdeg ah loo sii daayo 8—Helitaanka giraanta joojinta 9—Isku-xidhka tuubada degdega ah
Ka dib daaweynta xasilloonida, habka dhammaystirka ayaa la sameeyaa. Maadaama habkani yahay hab dhammaystir ah, cabbirka badeecada la dhammeeyay waa cabbirka badeecada la dhammeeyay, tixraacana waa la hagaajiyaa. Qalabka leh saxnaan sare, xaalad deggan iyo qaboojin ku filan waa in loo isticmaalaa in lagu dhammaystiro habaynta. Naqshadaynta qalabka waa inay tixgelisaa hagaajinta shuruudaha saxnaanta cabbirka booska. Inta lagu jiro habka mashiinka, isku dheelitirnaanta mashiinka ee cabbirrada booska tixraaca ee qaybaha waa in la hubiyaa si loo hubiyo in qaybaha iyo qaybaha booska qalabka ay gaaraan ku habboonaanta ugu fiican inta lagu jiro dhammaystirka. Sidaa darteed, qalabka bacaha hawada ee laastikada ah ee qaybaha silinda aluminium-ka ee saxda ah loo rogay ayaa si gaar ah loogu talagalay.
Si loo xalliyo dhibaatada isku-xidhka iyo isbeddelka tiro badan oo ah qalab shaqo oo aan bir ahayn oo aan bir ahayn oo khafiif ah oo derbi khafiif ah leh, habkan hawlgalka wuxuu bixiyaa qalab bacaha hawada oo laastikada ah oo lagu dhammaystirayo qaybaha dhululubada aluminiumka. Qaab-dhismeedka hirgelinta gaarka ah waxaa lagu muujiyay Jaantuska 1-17.

Jaantuska 1-17 Jaantuska jaantuska ee qaab-dhismeedka hirgelinta gaarka ah ee dhexroorka dibadda iyo dhererka buuxa ee qaybaha silinda aluminium ee la dhammeeyey
1—Saxanka Flange 2—Boorno 3—Jidhka isku dheggan 4—Barkinta Hawada 5—Shaqada Shaqada 6—Waalka badbaadada 7—Waalka sii deynta degdega ah 8—Helitaanka giraanta xajinta 9—Isku-xidhka tuubada oo si degdeg ah u beddel
Jidhka isku-xidhka 3 waxaa lagu dhejiyay flange-ka qalabka mashiinka 1 iyadoo la adeegsanayo boolal 2, bacda hawada 4 waxaa lagu dhejiyay jirka isku-xidhka 3, isku-xidhka tuubooyinka isku xira ee bacda hawada 4 waxaa la gelinayaa godadka booska ee u dhigma ee jirka isku-xidhka, giraanta joojinta booska 8-na waxaa lagu rakibay jirka isku-xidhka. Gaar ahaan, bacda hawada waxay ku xaddidan tahay booska. Waalka badbaadada 6 iyo waalka sii-deynta degdegga ah 7 waxaa lagu rakibay godadka booska ee u dhigma ee jirka isku-xidhka 3 waxaana lagu xirayaa isku-xidhka tuubada ee u dhigma ee bacda hawada. Isku-xidhka tuubada ee isbeddelka degdegga ah 9 oo leh waalka hal-dhinac ah wuxuu ka yimid Gudub godadka booska ee giraanta isku-xidhka booska 8 oo ku xidh kala-goysyada tuubooyinka ee bacda hawada 4, hubi kala-goys kasta oo samee tijaabo cidhiidhi ah oo hawo ah.
Marka barkinta hawada aan la buufin, qalabka shaqada 5 waxaa lagu rakibayaa miiska meelaynta ee jirka isku xira 3 iyo dusha sare ee booska giraanta joojinta booska 8 si loo xaqiijiyo booska qalabka shaqada ee khafiifka ah. 4. Buuxi, deji cadaadiska hawada ee bacda hawada 4 iyada oo loo marayo waalka badbaadada. Marka cadaadiska sicir bararku ka weyn yahay cadaadiska la dejiyay ee waalka badbaadada, waalka badbaadada ayaa bilaaba inuu shaqeeyo bacda hawadana waa la buufiyaa. Iyada oo la raacayo ficilka xoogga laastikada ee bacda hawada, qalabka shaqada ayaa la adkeeyaa si loo gaaro Qalabka shaqada 5 waa la xiraa si loo bilaabo farsamaynta. Soo ogow qalabka shaqada 5, hagaaji cadaadiska bacda hawada, jiid gacanta waalka sii deynta degdegga ah 7 ka dib marka qalabka shaqada la farsameeyo, oo bacda hawada ka saar. Ka dib marka shuruudaha naqshadeynta la buuxiyo, ka saar qalabka shaqada 5 oo farsamaynta waa la dhammaystiraa.
Bacda hawada ee la buufin karo lafteedu waa mid dabacsan, xoogga adkaynta bacda hawadu si siman ayuu ugu shaqeeyaa qaybaha tuubada aluminiumka khafiifka ah. Cabbirka xoogga laastikada ee bacda hawada waxaa dejin kara waalka badbaadada, cabbirka xoogga xiisadda bacda hawadana waxaa lagu hagaajin karaa iyadoo loo eegayo dhumucda derbiga iyo xoogga qaybaha tuubada aluminiumka khafiifka ah. Qalabka qalabka ku habboon wuxuu ku habboon yahay rarista iyo dejinta qaybaha shaqada, wuxuuna hubin karaa shuruudaha saxnaanta farsamaynta ee qaybaha silinda aluminiumka khafiifka ah ee saxda ah. Lacagta farsamaynta waa 0.5 ~ 1mm jihada dhexroorka, iyo lacagta farsamaynta ee wejiga dhammaadka dhexroorka dibadda waa 0.2 ~ 0.5mm. Xuduudaha jarista waa: xawaaraha jarista vc = 300 ~ 380m/daqiiqo, xaddiga quudinta f = 0.05 ~ 0.1mm/r, qaddarka jarista dambe ap = 0.05 ~ 0.15mm.
|
Isku day GreatLight Hadda! Kooxda Taageerada Injineerka GreatLight - Oraahyada dhabta ah ee aadanaha ayaa ka badan sax ah marka loo eego xigashooyinka software-ka |
Soo hel xigasho bilaash ah |
Dhammaystirka hawsha godka gudaha
Shaqada waxaa lagu shubaa godka gudaha ee qaybaha dhululubada aluminiumka ee dhammaystiran iyadoo la adeegsanayo meelaynta wareegga dibadda ee datum iyo riixista dunta axial, ka dibna waxaa lagu dhejiyaa kabaha isku xidhka 9 (fiiri Jaantuska 1-13) ee godka gudaha ee qaybaha dhululubada aluminiumka qallafsan iyo kuwa khafiifka ah. Adkee hal dhinac oo ah godka gudaha ee qaybaha foosto aluminiumka ee rogrogidda wanaagsan, dhammaadka kalena wuxuu isticmaalaa ferule 3 ee qaab-dhismeedka dhexe ee isku dhafan (fiiri Jaantuska 1-18) si uu ugu dhawaado jirka 2 ee godka gudaha ee qaybaha foosto aluminiumka ee rogrogidda wanaagsan (fiiri Jaantuska 1-19) ee koonka dibadda si loo dhammaystiro isku xidhka. Qalabka yaraynta gariirka waxaa loogu yeeraa inuu farsameeyo godka gudaha ee qaybta dhululubada aluminiumka, iyo ogolaanshaha makiinada waa 0.5 ~ 1mm jihada dhexroorka. Xuduudaha goynta waa: xawaaraha goynta vc = 300 ~ 380m/daqiiqo, heerka quudinta f = 0.05 ~ 0.1mm / r, xaddiga mindiyaha dib-u-quudinta ap = 0.05 ~ 0.15mm.
Maadaama habkani yahay geedi socod dhammaystir ah, qalabka mashiinka CNC ama qalabka dhexe ee rogrogmada oo leh saxnaan sare, xaalad deggan iyo qaboojin ku filan waa in loo isticmaalaa dhammaystirka dhammaystirka. Kahor inta aan la bilaabin shaqo kasta oo qaybaha lagu farsameeyo, waxaa lagama maarmaan ah in qalabka la kululeeyo, qalabka laga dhigo mid aan shaqayn wax ka badan 0.5 saacadood, ka dibna la bilaabo farsamaynta ka dib marka la gaaro xaaladda ugu xasilloon ee qalabka. Sida waafaqsan shuruudaha saxda ah ee farsamaynta qaybaha, socodka radial iyo ciyaarta axial ee usha ugu weyn ee qalabka waa in la hubiyaa ka hor inta aan la farsamayn si loo buuxiyo shuruudaha farsamaynta.

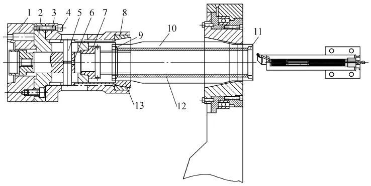
Jaantuska 1-18 Jaantuska jaantuska ee qaab-dhismeedka qaab-dhismeedka dhexe ee isku-dhafka ah ee taageeraya qalabka godka gudaha ee leexashada qallafsan iyo tan khafiifka ah qaybaha aluminium
1-Salaysan 2-Saldhig 3-Gallaab ah

Jaantuska 1-19 Jaantuska jaantuska ee qaab-dhismeedka godka gudaha ee qaybaha fudud ee aluminiumka ah ee si fiican loo rogay
1-Daboolka dhammaadka bidix 2-Jidhka ugu weyn 3-Daboolka dhammaadka midig
Naqshadeynta qalabka dammaanad qaadaya shuruudaha dulqaadka
Naqshadee qalab gaar ah oo loogu talagalay qalabka gudaha ee qaybaha tuubada aluminiumka ee saxda ah si loo hubiyo tayada habaynta. Naqshadeynta qalabka waa inay tixgelisaa booska lagu kalsoonaan karo, habka isku xidhkana waa inuu ka fogaadaa isbeddelka xoogga leh ee qaybaha, oo uu qaataa habka booska wareegga dibadda ee datum iyo cadaadiska dunta axial. Qaybta meelaynta qalabka iyo wareegga dibadda ee tixraaca ee qaybta waa ku habboon yihiin nadiifinta, cabbirka nadiifintana waa inuu buuxiyaa shuruudaha dulqaadka booska.
Inta lagu jiro habka mashiinka, isku xidhka qalabka shaqada waa inuu hubiyaa in booska qalabka shaqada iyo qalabka, fidsanaanta iyo isbarbardhigga dusha sare ee cadaadiska ay xaalad wanaagsan ku jiraan, dusha sarena waa in la nadiifiyaa si loo hubiyo in jajabku uusan ku xirnayn. Meelaynta qayb kasta oo qalabka ah waa inay hubisaa dulqaadka joomatari ee qalabka shaqada. Xaaladda cadaadiska waxaa si habboon loogu hagaajiyaa iyadoo loo eegayo cabbirka xoogga jarista, isku xidhka qalabka shaqadana ma noqon karo mid aad u adag si looga fogaado isbeddelka xoogga isku xidhka ka dib marka la farsameeyo.
Muhiimadda qalabka
Kabaha isku xidhka 13 (fiiri Jaantuska 1-15) ee godka gudaha ee qaybaha foosto aluminium ee qallafsan iyo kuwa dhammaystiran ayaa isku xidha hal dhinac oo ka mid ah godka gudaha si loo dhammaystiro qaybaha foosto aluminium ah, dhammaadka kalena wuxuu isticmaalaa nooc isku dhafan oo taageera godka gudaha ee qaybaha foosto aluminium ee qallafsan iyo kuwa dhammaystiran. Feer-ka dhexe ee 3 (fiiri Jaantuska 1-18) wuxuu ka soo horjeedaa dusha sare ee jirka godka gudaha ee qalabka 2 (fiiri Jaantuska 1-19) ee qaybta silinda aluminium ee saxda ah ee loo rogay si loo dhammaystiro isku xidhka, qalabka gariirka-na waxaa loogu yeeraa inuu hagaajiyo aluminiumka khafiifka ah ee saxda ah Qaybaha foosto waxaa loo farsameeyaa si loo dhammaystiro godka gudaha.
Sida ku cad Jaantusyada 1-18, qaab-dhismeedka isku-dhafan ee deggan waxaa ka mid ah boolal 1, saldhig 2 iyo boolal 3. Boolalku si wareeg ah ayuu ugu xiran yahay godka gudaha ee saldhigga iyada oo loo marayo boolalku, godka gudaha ee boolalkuna wuxuu leeyahay dusha sare ee gudaha ah, kaas oo la jaanqaadaya dusha sare ee godka gudaha ee jirka ugu weyn 2 (fiiri Jaantuska 1-19) ee qaybta silinda aluminiumka ee saxda ah ee rogrogmada.
Jaantuska 1-20 waa jaantus sawireed oo ku saabsan qaab-dhismeedka fulinta gaarka ah ee dhexroorka dibadda iyo dhererka buuxa ee qaybta silinda aluminiumka ee qallafsan.

Jaantuska 1-20 Jaantuska jaantuska ee qaab-dhismeedka fulinta gaarka ah ee dhexroorka dibadda iyo dhererka buuxa ee qaybta silinda aluminiumka ee qallafsan
1—Qalabka ballaarinta taaylada dhererka buuxa 2—Shaqada 3—Saarka wareega
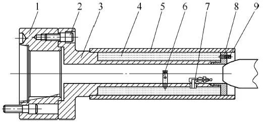
Sida ku cad Jaantuska 1-21, qalabka yareynta gariirka waxaa ka mid ah madaxa mashiinka 1, jirka qalabka 2, kubbadda 3, baffle 4, gu'ga saxanka 5, kursiga qalabka furan 6, iyo boolal hagaajin 7.

Jaantuska 1-21 Jaantuska shaxda ee qaab-dhismeedka qalabka yareeya gariirka
1—madaxa mashiinka 2 hal mindi gaar ah 3 hal kubad 4 hal saxan oo baffle ah 5 hal saxan oo gu' ah 6—kursi mindi furan 7—boolal hagaajin ah
Isticmaalka macquulka ah ee qalabka
Jidhka mindiyaha 2 ee qalabka gariirka-qaboojinta waxaa laga sameeyay bir xawaare sare leh W18Cr4V, oo leh adkaysi demin ah oo ah 58~62HRC. Jidhka mindiyaha wuxuu qaataa tuubo godan. Qaab-dhismeedka tuubada godan wuxuu leeyahay iska caabin fiican oo qaloocsan iyo isbeddel rogan inta lagu jiro habka jarista, iyo dhumucda derbiga oo ah 20mm. Qalabka waa la shiiday ka dib marka la damiyo wareegga dibadda ee qalabka, dulqaadkana waxaa lagu xakameeyaa gudaha 0.03mm; godka gudaha waxaa dib loo hagaajiyaa ka hor inta aan la damin, dulqaadka cabbirkana waxaa lagu xakameeyaa gudaha 0.05mm.
Godka gudaha ee qalabka waxaa lagu qalabeeyay awood uu ku baabi'iyo gariirka iyo iska caabbinta isbeddelka. Guga diskka 5 iyo kubbadda 3 ee baabi'isa gariirka ee soo noqnoqoshada kala duwan waxaa lagu kala saaraa baffle 4; boolal hagaajin ah 7 waxaa lagu rakibay hal dhinac oo ka mid ah jirka jarista si loo hagaajiyo dhererka iyo xoogga laastikada ee guga diskka si uu ula qabsado agabyo kala duwan iyo shaqada jarista. Qalabka cabbirka xoogga leh. Jirka qalabka waxaa si buuxda loogu dhejiyay qalabka furan 6 si loogu hagaajiyo miiska qalabka ee qalabka mashiinka CNC. Madaxa mashiinka 1 wuxuu si dhow ula mid yahay dhammaadka kale ee jirka jarista iyada oo loo marayo jeexdin V ah oo la gooyay, waxaana lagu cadaadiyaa boolal si si adag loogu hagaajiyo. Tuubo qaboojin ah ayaa lagu rakibay jirka qalabka, dareeraha jarista cadaadiska sare lehna waxaa lagu shubaa caarada qalabka jarista iyada oo loo marayo godka qaboojinta si loo qaboojiyo qalabka iyo qalabka shaqada, iyo gugayaasha saxanka iyo kubbadaha ayaa la isku dhejiyaa.
Dhammaystirka, qalabka sanka R0.2mm ayaa guud ahaan loo isticmaalaa. Qalabka mashiinka ee qaybaha muhiimka ah waa in si macquul ah loo habeeyaa, jarista tallaabooyin badan lehna waa in la qaataa, qalloocinta iyo dhammaystirkana waa in la kala saaraa. Taasi waa, qalabka loo isticmaalay marin-haweedka ugu dambeeya waa in si gaar ah looga isticmaalaa qalabkii loo isticmaalay tallaabooyinkii hore si loo hubiyo tayada mishiinka ugu dambeeya.
Lacagta farsamaynta waa 0.5 ~ 1mm jihada dhexroorka, dhammaadka wejiga godka gudaha waa 0.2 ~ 0.5mm, tirada miisaska jarista waa: xawaaraha jarista vc = 300 ~ 380m/daqiiqo, heerka quudinta f = 0.05 ~ 0.1mm/r

| Aan Bilow Mashruuc Cusub Maanta |
| Soo qaado Quote Free |
Kormeerka dhamaystirka
Ogaanshaha cabbirrada guud waa in loo adeegsadaa aaladaha cabbiraadda guud intii suurtogal ah. Si loo ogaado saxnaanta iyo cabbirrada muhiimka ah, waxaa la isticmaali karaa qalab cabbiraad gaar ah, sida qalabka cabbiraadda saddex-isku-dubaridka ah, qalabka cabbiraadda hawada ama isbarbardhigga.
Si loo ogaado dulqaadka joomatari ee shuruudaha saxda ah ee sare, si si cad loogu muujiyo xaaladda dhabta ah ee habaynta qaybaha, cabbirka mashiinka ayaa loo oggol yahay, taas oo ah, qaybaha qalabka iyo isku-xidhka loo isticmaalo habaynta ayaa loo isticmaalaa qalabka wax-soo-saarka asalka ah si loo aqbalo.
Saameyn faa'iido leh: Mashruuca mashiinka CNC, habkan hawlgalka wuxuu hubiyaa saxnaanta mashiinka ee qaybaha tuubada aluminiumka khafiifka ah ee saxda ah. Marxaladaha kala duwan ee farsamaynta, iyadoo la adeegsanayo qalab kala duwan, meelaynta iyo xidhitaanka qaybaha tuubada aluminiumka khafiifka ah ee saxda ah ayaa la ogaaday, taas oo xallisa dhibaatada. Dhibaatada isbeddelka qaybaha silsiladda aluminiumka khafiifka ah ee saxda ah iyadoo la adeegsanayo xoogga isku xidhka ee wax soo saarka badeecada. Waxay farsamayn kartaa dhululubada aluminiumka leh dhumucda derbiga oo ah 3 ~ 6mm, dulqaadka cabbirka waa gudaha 0.05mm, qaabka iyo dulqaadka booskana sidoo kale waxaa lagu dammaanad qaadi karaa gudaha 0.05mm.
Mashiinka Weyn ee CNC waxay aaminsan tahay in; habkan hawlgalka uu ku habboon yahay habaynta dhululubada aluminiumka khafiifka ah ee kala duwan. Waxay leedahay saxnaan meelayn sare, hawlgal fudud, iyo rarid iyo dejin ku habboon oo ah qaybaha shaqada. Xoogga isku xidhka ayaa si siman ugu dhaqmi kara qalabka isku xidhka, xoogga isku xidhkana waxaa loo hagaajin karaa iyadoo loo eegayo xaaladaha kala duwan. Waxay ku habboon tahay meelaynta iyo isku xidhka dhululubada aluminiumka khafiifka ah ee kala duwan, oo leh kala duwanaansho farsamayn iyo ku habboonaan xooggan.
Tel/WeChat:
E-mail:
Bogga Hore
Cusboonaysiinta Habka Mashiinka ee Qaybaha Godka Qotoda Dheer ee Fidsan